PŘIJÍMAČ - VYSÍLAČ PRO PÁSMO 1215-1300 MHz [1955]
Vratislav Poula (OK1KKA)
|
Detailní pohled na zařízení 1215 MHz. |
Zdá se, že vyrobit zařízení pro pásmo 1215 MHz činí naším amatérům potíže. Jak jinak vysvětlit skutečnost, že na př. z přihlášených 10-20 stanic na VKV závodech či Polním dnu naváží spojení nejvýše 3-4. Někdy na kratší vzdálenost přístroj chodí, ale na větší zklame. Jenže na QRB 150 m jsme přijímali na tomto na tomto pásmu již na jaře 1949 (a na 20 m na 2300 MHz!) viz [5] dál to ovšem tehdy nešlo. Snad si někdo i myslí, že postavit pracující přístroj je nad jeho síly. Není tomu tak.
V krátkém článku není ovšem možno opakovat všechno, co již bylo vyloženo jinde. Je proto naprosto nutné, aby si čtenář přečetl Literaturu uvedenou na konci. Alespoň body [2], [4], [6] nebo [1], [2]. Zde se omezíme jen na věci dříve málo vyložené, nebo takové, na něž má pisatel jiný názor, než je v článcích citovaných.
Začněme u elektronek: Z dostupných typů lze užít RD12Ta (RD2,4Ta) nebo LD1. Planární a jiné novější se u nás neprodávají. Pokusy ukázaly, že LD1 kmitá lépe na vyšších kmitočtech (asi do 1400MHz), naopak RD12Ta dá větší výkon. Omezíme se proto v dalším na RD 12Ta. Všechno ostatní platí potom zhruba i pro LD1 s nutnými konstrukčními úpravami (dvojité vývody mřížky a anody).
Pokud jde o zapojení, mohlo by být obecně všelijaké. Ovšem, k dutinovým resonátorům se nedá RD 12Ta dobře přizpůsobit. Zbývá tedy buď koaxiální vedení, viz [4], nebo tyčový obvod, viz [6]. Jenže tyčový obvod dá malý výkon a má-li být uveden v chod, i víc práce; zbývá tedy obvod koaxiální. V t. 1. dosud popisované oscilátory měly obvody elektrické délky λ/4, zapojené mezi mřížku a anodu a mezi mřížku a katodu, viz obr. 1a. Že byly oba obvody koncentrické, t. j tyčka od anody uvnitř, na ní mřížková a navrch katodová, je jen mechanická úprava. Stejně mechanickou záležitostí je provedení kondensátorů Ck a Ca.
Několik podobných oscilátorů postavil i autor. A tu se objevila věc, na níž patrně ztroskotalo více konstruktérů - oscilátor nekmitá dost vysoko. Osciluje pěkně tak do 1220 MHz, ale stoupá-li kmitočet, výkonu rapidně ubývá. A co horšího, ubývá i délky ladicích obvodů. Stane se, že už mají skoro zkrat u skla elektronky, ale kmitočet ne a ne přestoupit 1300 MHz. LD1 na to není tak citlivá. Tu se podaří dovést přes 1400 MHz. (Nevěříte-li tomu, zeptejte se, proč skoro všechny stanice vysílají na dolním konci pásma, proč mívají na Rx-u LD1 a proč na př. přístroj na celostátní výstavě 1953 měl horní kmitočet 1240 MHz (viz A. R. 1953, str.149)).
Nejdřív si pisatel myslel, že je nešika. Ale když druhý oscilátor přesně podle [4] provedený nekmital výš než na 1310 MHz (a to špatně), zavrhl popisované zapojení a zkusil to jinak.

Zavedeme-li jeden ladicí obvod mezi katodu a anodu a druhý mezi mřížku a anodu - viz obr. 1b - prodlouží se ten první, protože zkracující kapacita anoda-katoda je menší než katoda-mřížka (asi 0,3pF proti 1,1 pF). Bohužel, s druhým obvodem (anoda-mřížka) se nestalo nic a na něm záleží víc. Můžeme zde však použít otevřeného obvodu λ/2 místo uzavřeného λ/4 - viz obr. 1c. Tím jsme zabili dvě mouchy jednou ranou: Za prvé odpadá nutnost vyrobit kondensátor Cm (viz obr. 1b), který by spolehlivě snesl anodové napětí (není to tak snadné), ale hlavně může být obvod λ/2 tak krátký, jak potřebujeme. Kmitna proudu (bod P na obr. 1c) totiž může ležet u samé elektronky nebo dokonce uvnitř. To není pochopitelně u λ/4 obvodu možné. Ven pák vyčnívá jen otevřený obvod λ/4. Tak se podařilo rozkmitat RD12Ta na 17,3cm a jistě by bylo možno vyrobit vlnu ještě kratší. Pro pásmo 2 300 MHz již sice sotva, ale theoreticky to není vyloučeno.
Přehledněji to udává diagram obr. 2. Jsou v něm zaneseny vlnové délky tří oscilátorů λ/4 (jeden s vedením 30 mm elektronkou RD 12Ta, druhý s RD2,4Ta a vedením Ø 60 mm, třetí s LD1 a vedením Ø 30 mm) a čtvrtého λ/2 s el. RD12Ta a to v závislosti na délce ladicího obvodu anoda-mřížka. Délky jsou měřeny od skla elektronek, nikoliv od středu elektrod. Graf je poněkud idealisován, protože skutečně naměřené hodnoty byly trochu „hrbaté“. Vlnová délka totiž závisí i na nastavení obvodu mřížka-katoda (anoda-katoda). Vlnoměrem bylo koaxiální vedení s germaniovou diodou a miliampérmetrem. Tím je odbyt princip zapojení oscilátoru. Zbývá vyřešit ladění. Jde to pouze změnou délky vedení λ/2. Ladicí kondensátor se nepodaří vyrobit a vsouvat do obvodu trubičku z nějakého dielektrika se ukázalo neúčinným. Provedl to proto pisatel tak, že na vnitřní (mřížkovou) trubičku (která tvoří s anodovou ladicí obvod), navlékl druhou, tak velkou, aby se po ní posouvala s mírným třením. Tím se obvod natahuje a ladí. Táhlo ovšem musí být isolační a z bezeztrátového materiálu. Že nemění svou délku i anodová trubka, je celkem lhostejno.
|
Pohledy na rozebrané díly zařízení s. Puly pro 1215 MHz - Jednotlivá čísla jsou vysvětlena v textu |
A nyní k
mechanické stavbě: Oscilátor se skládá ze 3 souosých mosazných trubek. Vnější
(katodová) má vnitřní průměr asi 30 mm. (Viz položku 1 na obr. 3a na
fotografii.) Katoda spolu s jednou nožkou žhavení je na ni připojena
kapacitně. Kondensátor (viz Ck na obr.1c) tvoří detail 2 se
slídovou isolací 0,1 mm. Ta musí vydržet cca 1 000 V a je to jediné místo
oscilátoru, choulostivé na probití. Navrch přijde ještě podobný kondensátor 3,
spojený s druhou nožkou žhavení (viz Cž obr. 1c). Vše je k trubce 1
přitaženo třemi šroubky M 2,3.
Uvnitř trubky 1 Je trubka 4, anodová, průměru asi 14 mm. Je připojena k anodě elektronky zapájenou zdířkou od objímky LS50. Mezi trubkami 1 a 4 pohybuje se píst 5 z fosforbronzového plechu 0,2mm (stačí tvrdá mosaz). Za táhlo mu slouží kus ocelového drátu.
Uvnitř trubky 4 je třetí trubička 6 (mřížková), průměru 3-4 mm. Na jednom konci má připájenou zdířku 10, kterou se zasune na mřížkovou nožičku elektronky. Uvnitř trubky 4 je držena mikalexovou destičkou 7, která zapadne do zářezu trubky 4. Přes trubku 4 pak nasadíme držák 8. Tím je trubička 6 s destičkou 7 zajištěna proti vypadnutí.
Trubička 6 je i se zdířkou dlouhá asi 50 mm. (Délku vyzkoušejte při uvádění v chod.) Na ni je navlečena trubička 9, svinutá z fosforbronzového plechu 0,2mm na takový průměr (taženo průvlakem), že po trubičce šoupe s mírným třením. Na konci je křížem rozříznuta v délce asi 12 mm, aby pružila. Druhý konec je připájen na čepičku dlouhého 1 W odporu (11) s odškrabanou vrstvou, který slouží za isolační ladicí táhlo.
Je tedy, opakuji, princip následující: Mezi mřížkou a anodou je obvod λ/2 z trubiček 6 a 9 a 4. Ladí se posouváním trubičky 9 po trubičce 6, tedy změnou délky. Vnější obvod (mezi anodou a katodou) tvoří trubky 4 a 1. Ladí se pístem 5.
Jak upevnit trubky 4 a 1 a jak provést ladicí mechanismus, je celkem lhostejné. Zde tvořil ladicí převod šroub M8, na němž se posouvala matice, spojená s táhlem (t. j. tím odškrabaným odporem). Aby se ladicí převod neviklal a neotáčel, je ve vedení ze dvou trubek. Pro vyloučení mrtvého chodu je matice tažena vpřed ocelovou pružinou (pérko ze stupnice). Současně se změnou délky obvodu mřížka-anoda bývá vhodné dolaďovat pístem 5. Zde se ukázalo, že píst musí běžet pomaleji. Proto bylo vyrobeno pantografové zařízení (je vidět na fotografii). Protože však jiný podrobný oscilátor pohyb pístu vůbec nepotřeboval, je nutné vyzkoušet, zda nutno pístem dolaďovat, nebo ne. Rozsah přístroje zde uvedeného byl 1160-1320 MHz, při změně délky obvodu λ/2 z 52 mm na 80 mm.
Přes celý oscilátor je navlečen kryt z mosazného plechu. Výborně poslouží např. kryt od zadních teleskopů Jawa-ČZ. Do jeho přední části ústí koaxiální napaječ antény. Je z mosazné trubky vnitřního průměru 6-8 mm. Vnitřním vodičem je 1mm měděný drát, odisolovaný každých 30 mm keramickými korálky. Ty jsou od sebe odděleny trubičkami o průměru 2 mm a délce 25 mm, slepenými ze 3 vrstev cigaretového papíru a navlečenými na vnitřní vodič. Tato úprava má dobré vf vlastnosti, nesmí ovšem navlhnout. Napaječ je symetrisován štěrbinou (viz [7] a ukončen půlvlnným dipólem o délce 118 mm. Vazba s oscilátorem je provedena smyčkou o průměru cca 20 mm, přiblíženou k elektronce v místech, kde je anoda. Polohu vyzkoušejte tak, aby mřížkový proud klesl asi na polovinu proti oscilátoru nezatíženému. Délka napaječe se řídí použitou anténou.
Vývody od katody, žhavení a mřížky jsou vyvedeny zadem ze stínicího krytu přes tlumivky, navlečené do synthetické bužírky. Průměr tlumivek asi 1,5 mm, drát smalt 0,15 mm, stoupání závitů asi 1,5 mm. Délka tlumivek podle potřeby (vyčnívají asi 10 cm z krytu). Provést vývody jinak nedoporučuji. Je-li celý oscilátor uzavřen, hledí se vf energie dostat ven všemi otvory, tedy i podél přívodů elektrod. To ovšem působí ztráty a „díry“ v pásmu. Zvláštní pozor dejte na mřížkovou tlumivku, aby se nedotýkala ostatních trubek nebo krytu. Napojena je na trubku 6 asi 1 cm od skla elektronky. V místech, kde se přibližuje trubkám 4 nebo 1, isolujte ji porcelánovou trubičkou, nebo textilní bužírkou (synthetická nesnáší teplo). Z krytu ven je již synthetická lepší (je ohebnější).
Jinak je
stavba celkem jasná z obrázků a fotografií. Průměry trubek nejsou kri´tické.
Mřížková 3-6 mm, anodová 10-25 mm, katodová 25-60 mm. Poměr průměru trubek
anoda/mřížka asi 2-3, katoda/anoda 1,6-2,5. Oscilátor po sestavení
vyzkoušejte, potom rozeberte, pečlivě očistěte jemným smirkem, odmastěte (př.
v trichloru) a potopte asi na 20 min. do použitého ustalovače. Po opláchnutí
jej znovu sestavte. Ladicí plochy a píst slabounce natřete řídkým minerálním
olejem. Zlepší se dotek a zmizí šum při ladění. Stříbření nepodceňujte. I když
vrstvička z ustalovače je tenká a nedrží příliš, chrání povrch před oxidací.
Tím je hotov oscilátor a nyní to ostatní. Přijímačem je superregenerační detektor a vysílá se modulovanou telegrafií. Zapojení by jistě stačilo to nejobyčejnější. Ale věc má háček. Pro přijímač je výhodné, má-li zvláštní obvod pro výrobu superreakce (podle možnosti řiditelný). Vysilači vadí, že anoda oscilátoru je spojena s krytem. V provozu se nevyhneme dotykům na oscilátor a anténu a na krytu pak nesmí být napětí proti kostře modulátoru. Uvažme dále malou účinnost oscilátoru (sotva 18%) a porovnáme-li ji s dovolenou ztrátou elektronky, vyjde v anténě zlomek wattu.
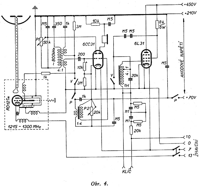
Autor to obešel jinak. Podíváte-li se na schéma obr. č. 4, odkryjete zesilovač s uzemněnou anodou. Žhavení musí být v eliminátoru ovšem dobře odisolováno. Klíčuje se všechno, oscilátor i s modulátorem. Tím můžeme oscilátoru zvýšit příkon, protože si odpočine v době, kdy není stisknut klíč. Podobně modulátor. Vzhledem k účinnosti je výhodné procento modulace přes 100%. Zde je na anodě oscilátoru 210 V ss, střídavé modulační napětí přesahuje 250 V. Tak dostává (stiskneme-Ii klíč) anoda RD12Ta napětí v rozmezí minus 150 až plus 570 V. Střední příkon oscilátoru je přitom asi 15 W, špičkový přes 40W. Střední katodový proud asi 60 mA.
Tohle je jistě týrání elektronek. Ale RD12Ta se tváří klidně. Jen ji musíte nažhavit cca 13V. Konečně, modulační 6L31 na tom není lépe. Té se ztratí na anodě přes 50 W. Neříká také nic, má-li přes 6V žhavení. Za těchto podmínek svítí neonka na anténě opravdu spolehlivě. Výkon v anténě není ani tak ohromující, něco přes 2 W (špatně se to měří), ale špičkový výkon je vyšší, asi 7 W. Pochopíte proto jistě, proč modulátor s uzemněnou anodou a proč oscilátor nemá mezi anodou a mřížkou jinou isolaci, než tlustý sloupec vzduchu.

Podrobně probírat schéma obr. č. 4 není snad nutné. 6L31 slouží k modulaci a je v pentodovém zapojení. Odpor 8kΩ v druhé mřížce má současně funkci zátěže, kdyby vypadl oscilátor (nebezpečí probití modulačního trafa). Musí snést spolehlivě 6 W. 6CC31 je zapojena první polovinou jako generátor superreakčních kmitů (cca 800 kHz). Napětí se ovládá potenciometrem P1. Druhým (P2) se řídí napětí oscilátoru 1215 MHz v zapojení jako přijímač. Druhá půlka 6CC31 je koncový stupeň přijímače. Přepínač je páčkový, 2 x 2 polohy. P je sepnuto při příjmu, V při vysílání. Kondensátory přes 0,1μF jsou MP, ostatní keramické. Modulační i nf transformátor má jádro o průřezu 2,5 cm2. Stačí to, protože modulační kmitočet je cca 600 Hz. Indukčnost modulačního transformátoru asi 2 H (mezi koncovými vývody), převod 4 : 1 (víc závitů dole). Převod závitů superregeneračního oscilátoru 4 :1 (méně závitů k mřížce RD12Ta). Stavba není náročná. Můžete se ovšem uchýlit od tohoto zapojení, ale má své výhody. Tak na př. klíč téměř vůbec nejiskří, ač vypíná značný výkon. Také modulátor nefunguje v poloze příjem a podobně.
Za anténu jsme zvolili válcový parabolický reflektor. Vyrobí se mnohem snáze, než rotační paraboloid. Je to parabola ze dvou ohnutých trubek. Ohnisko 18,8 cm, apertura asi 120 cm. Snadno ji podle toho nakreslíte. Trubky jsou drženy ve vzdálenosti cca 36 cm (není vůbec kritické) nanýtovanými příčkami. Celek je potažen jemnějším pletivem a uložen otočně na trubce. Do podstavce se vejde příslušný eliminátor. Zisk antény byl asi osminásobek pole (proti dipólu) při vysílání a téměř šestinásobek při příjmu. (Naměřené hodnoty.)
[1] Oscilátor
pro 1215 MHz, Amat. Radiotechnika I., str. 403.
[2] Tlumivky UKV obvodů, Amat. Radiotechnika I.,
str. 363.
[3] Nad 1 000 MHz, K. V. 1950/1,
str. 5.
[4]
Nad 1 000 MHz, K. V. 1950/10, str. 184.
[5] BK pro pásmo 50-1215
MHz, K. V. 1950/1, str. 8.
[6]
Jednod. oscilátor na 1 215 MHz, A. R. 1952/11,
str. 256.
[7] Symetrisace čtvrtvlnnou štěrbinou, Amat.
Radiotechnika II., str. 45.
AR 10/1955 str. 313
přepsal a upravil pro web OK2KKW Matěj, OK1TEH